
佳能已获得专利,可在长时间曝光期间改进其双重IS系统。在这样做时,该专利明确提到了三重IS的想法,它利用了系统内的图像稳定。
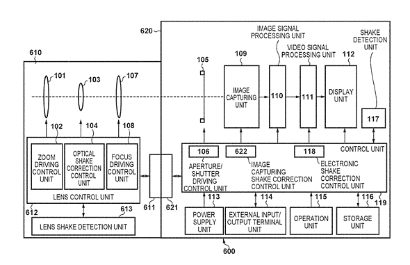
该专利本身涉及结合镜头和数字图像稳定的挑战。目前佳能使用光学稳定来补偿小型,快速,高频率的运动,例如车辆的运动等,然后使用电子稳定(调整传感器的裁剪区域以保持对齐)用于低频运动。
该专利专注于平衡光学和电子稳定系统,并根据快门速度改变它。但问题是,在长时间的曝光期间,此电子稳定功能无效,相机持续在拍摄对象周围缓慢移动,但相机无法调节其使用的传感器区域,所以在曝光中期,仍然会感到画面模糊。
佳能对该专利给出的说法是确保它也适用于使用光学,电子和传感器移位稳定的三重IS系统。佳能已经表示正在开发一种可以协同工作的光学IS系统。该专利表明其工程师已经考虑过这种可能性一段时间了。
英文原文如下:Canon patent details triple image stabilization system for low-light video recording
Canon has patented a method for improving its dual IS system during longer exposures. In doing so, the patent explicitly mentions the idea of triple IS, which makes use of in-body image stabilization.
The patent itself relates to the challenges of combining lens and digital image stabilization. At present Canon uses optical (lens-based) stabilization to compensate for small, fast, high-frequency movements such as the movement of a vehicle or rapid hand shake, and then uses electronic stabilization (adjusting the crop region of the sensor to stay aligned with the subject) for low-frequency movements.
The patent itself focused on balancing the roles played by the optical and electronic stabilization systems, and varying it depending on shutter speed.
The problem is that, during long exposures this electronic stabilization isn't effective: the camera continues to move slowly around the subject but the camera can't adjust which region of the sensor it uses, mid-exposure: so you still experience blur.
What makes it more interesting (beyond the insight that Canon is constantly trying to improve these things), is that the patent is phrased to ensure it also applies to a triple IS system that uses optical, electronic and sensor-shift stabilization.
Canon has already said it's working on a combined optical and in-body IS system that will work together. This patent suggests its engineers have had this possibility in mind for some time.
用户评论(共0条评论)